陶业简报:突发!碧桂园超百亿股权被冻结;广东日产5万㎡新线投产
精彩观点
熊伟:全供应链的低成本、高效率和优服务成为关键
在当今时代,全供应链的低成本、高效率和优服务成为关键。家居、家装和家电的融合,线上与线下的融合,为消费者提供更加便捷和全面的服务。数字化转型和智能化加速,使得企业更具竞争力。强者恒强、跨界融合的趋势使得品类边界模糊,形成品牌化的马太效应。同时,迎合绿色与双碳时代,体现长期价值才是发展的“标尺”。此外,企业扎堆上市、并购和融资,积极拥抱金融和资本,以实现更快速的发展。总之,这些因素共同推动着家居、家装、家电行业向着更高层次迈进。
(熊伟—华美立家副总裁)
南顺芝:瓷砖行业仍然是一个朝阳行业
瓷砖行业仍然是一个朝阳行业,第一,产品没有所谓“保质期”的概念,瓷砖产品生产出来放很多年都仍然可以销售,不会变质、变坏了;第二,陶瓷行业的整体利润空间不会像一些新兴行业一样有“过山车”式的波动,整体比较稳定。陶瓷是我可以从业一辈子一直干到退休的事业。我觉得现在建立品牌的机会还是很大的。
(南顺芝—大角鹿创始人)
行业动态
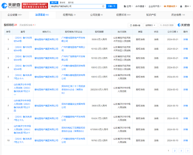
突发!碧桂园超百亿股权被冻结
3月25日,地产头部公司碧桂园传来超百亿股权被冻结消息。
天眼查信息显示,近期,碧桂园地产集团有限公司再新增多条股权冻结信息,股权被执行的企业包括广州粤东碧桂园投资有限公司、深圳市帕拉丁五期股权投资合伙企业(有限合伙)、深圳市汇信二十二号投资咨询合伙企业(有限合伙)、深圳市碧基实业发展有限公司等,冻结股权数额从3900万元至67.05亿元不等,合计冻结股权超百亿,执行法院为山东省济宁市中级人民法院、山东省临沂经济技术开发区人民法院。

风险信息显示,此前,该公司持有的多家公司股权已被冻结。此外,该公司还存在被执行人、限制消费令等信息。今年2月底,碧桂园被债权人呈请清盘,但是碧桂园极力反对,并于3月4日进一步披露称,该公司将在稍后阶段结合其境外重组之进度,考虑是否向香港高等法院申请认可令。
据了解,该公司目前正在全力保交付和稳经营,截至3月15日,碧桂园旗下已有272个项目被纳入“白名单”,分布于全国各地,已获融资支持金额达17.32亿元。
来源:77度
广东产区日产5万㎡新线投产
3月25日上午,位于江门恩平的牛角尖瓷砖生产基地(中创陶瓷)窑炉点火仪式隆重举行。据悉,这一生产线生产规格为1200*1200mm高端陶瓷产品,设计日产量5万㎡。
日产超5万方,是至今为止获悉的广东产区最大产能。不同于往年,今年广东产区已有多条日产能动辄超4万方的大产能线点火投产。
广东牛角尖陶瓷有限公司、广东中创陶瓷有限公司董事长占顺兆表示,中创陶瓷生产线不仅为牛角尖提供了先进的生产设备,还提高了牛角尖在市场上的竞争力。牛角尖有信心通过这条新增生产线扩大生产规模,提升产品品质,为客户提供更高效的服务,同时为恩平高质量发展做出贡献。
来源:陶业时讯
辽宁法库日产3.5万㎡沈阳佳得宝高端整线点火投产
3月24日,沈阳佳得宝与力泰陶机再携手,二期日产35000㎡大板整线成功点火。该线主要生产规格为750*1500mm、900*1800mm高品质绿色大板产品,设计日产量35000㎡。
来源:新京报
品牌动态
蒙娜丽莎瓷砖2024营销峰会佛山举行
3月24日,蒙娜丽莎瓷砖2024营销峰会在佛山盛大举行,来自全国各地的经销商、工程运营商等合作伙伴和蒙娜丽莎集团内部人员近2000人共聚一堂,围绕“稳中求进 创变发展”主题,回顾2023年奋发足迹,并以新思路、新策略携手擘画2024年发展蓝图。

“做强做大‘大瓷砖’,拓展‘大建材’‘大家居’,同时在渠道方面下功夫。”蒙娜丽莎集团董事、总裁萧礼标博士再次坚定未来战略发展方向,并提出三个“坚持”:坚持以客户为中心;坚持以质量为基础;坚持以创新为增长点。
会上,蒙娜丽莎2024年春季系列新品发布,包括全新经典石韵系列、波特兰洞石系列、银河星辰、轻奢素石、罗马御石等,同时持续推出高端艺术岩板、柔光砖、止滑大板等产品,以更完善的新品矩阵满足用户更多样化、更高品质的空间装饰需求。
面对环境的变化,蒙娜丽莎时刻紧跟时代的步伐,以“求变”,造不凡。新零售竞速、整装市场布局、品质交付升级、数字化营销开拓等经验策略分享,为蒙娜丽莎深度链接市场、用户,加强品牌建设,创造新增长点提供了思路。
「冠珠能量加油站」闪耀佛山50公里徒步现场!
作为“有家就有佛山造”产业IP授牌企业,本次冠珠瓷砖闪现“美丽佛山 一路向前”2024佛山50公里徒步活动的现场,以有趣有料的展位形式,与佛山市民同乐,共赴这场春日之约!

为更好向大家传递美好健康生活的理念,本次冠珠瓷砖特意大美打造「冠珠能量加油站」,让佛山民众在打卡佛山“顶流”景点时,也能在这儿及时补充能量,焕发活力与激情。
“春风五十里,冠珠等你”、“走完50公里泰酷辣”......一句句充满力量的活动标语能量爆棚,而冠珠瓷砖打造的「冠珠能量加油站」更是为大家提供了源源不断的动力。众多参与徒步活动的佛山市民纷纷前来打卡并拍照留念,用汗水和笑容诠释健康生活的真谛,用一波波刷屏朋友圈的大片记录对健康生活的热爱与承诺!
顺辉瓷砖·岩板与业之峰集团达成战略合作
顺辉瓷砖·岩板为助推品牌在多变的市场环境中稳步发展,实现逆势上扬,积极整合资源优势,开拓全国性大型装饰企业渠道,与业之峰诺华家居装饰集团股份有限公司达成战略合作,实现资源互补,促进协同发展。
此次,顺辉瓷砖·岩板与业之峰诺华家居装饰集团合作旨在将好的产品通过专业的途径展示在消费者面前,以个性化的设计、兼具美观和实用性的智能化配套装饰为消费者提供多样化、高品质的一站式交付服务,真正做到让消费者省心、省力、省时。
共同的目标是企业合作的基础,未来顺辉瓷砖·岩板将积极与业之峰深化渠道合作、抱团发展,稳步应对环境变化,促进双方更长远地发展。

欧雅企业岩板生产线顺利点火
3月24日上午,欧雅岩板窑炉点火仪式在肇庆生产基地顺利举行。欧雅企业董事长霍炳祥、企业总裁霍柱荣、企业营销总经理霍结玲携企业一众高层领导及厂部员工的共同见证下,欧雅岩板生产线顺利点火,庄重的点火仪式承载着企业奋斗发展的重托,更是对未来的美好期许。

斥资2.5亿元的欧雅岩板智能生产线,引进了意大利萨克米进口连续成型压机,以及智能热工设备,打造规格为最宽1600mm且长度不受限制的具有强大市场生命力的岩板产品,最大化发挥工业4.0数字化智造效能,花色更具多样、品质更有保证,为不同空间提供多种定制方案,实现产品跨越性的突破。
随着生产基地窑炉陆续点火,欧雅企业依托强大的产能保障与产品研发,打造高标准、智能化、高质量的产品供应链条,力争在新的市场竞争环境中,成就欧雅企业的宏伟蓝图!为消费者打造绿色宜居的梦想之家。
“鹰牌陶瓷50周年抖动钜献-红鹰风暴开年大促”下定单数超3386单!
3月24日,“鹰牌陶瓷50周年抖动钜献-红鹰风暴开年大促”活动在总部品牌实用家电的直播抽奖下,以“豪礼钜献,惊喜不断”的火热场面正式告捷!直播间在线人数持续暴涨、豪华品牌家电的抽奖更是将活动拉向了最高潮!
为期24天的开年钜献活动中,鹰牌陶瓷百城千店参与联动,多重优惠福利钜献,全线回馈广大消费者,全国门店自活动开启以来,即营造出人头攒动,热闹非凡的局面。
在本次“红鹰风暴,鹰牌50周年抖动钜献”全国开年大促中,鹰牌陶瓷凭借强大的品牌实力与卓越产品品质吸引了众多消费者的热情参与。鹰牌总部与终端营销团队统一战线、齐头并进、攻势十分猛烈,创签单新高!下定单数超3386单,收现额更是突破3480万!这一战绩不仅为鹰牌陶瓷新一年的品牌营销战略创造了开局即胜利的局面,更彰显了鹰牌在建陶行业的领军地位与卓越的产品实力。

市场动态
红星美凯龙发布2024“岩板·掘金计划”战略
3月20日,红星美凯龙2024“岩板·掘金计划”战略发布会在福建厦门建发国际大厦举行。来自红星美凯龙家居集团瓷砖卫浴事业部、进口国际事业部、厦门建发恒融供应链有限公司的相关负责人,知名经济学家与ICC、奥力斯特、奥卓斯、德利丰、东鹏、冠珠、玛缇、诺贝尔、欧文莱、萨米特、唐姆、唯美L&D、依诺、意美家等14家优秀岩板品牌代表共同见证了“岩板·掘金计划”新一年战略蓝图的发布。
据了解,红星美凯龙2024年度“岩板·掘金计划”以“聚焦、赋能”为关键词,发挥红星美凯龙的资源优势,结合建发供应链优势,通过超级发布、联合招商、艺术游学、专属定制等方向,实现创新赋能,提升品牌知名度和美誉度。在进口岩板方面,提出了“市场下沉”和“差异化”的未来发展关键方向,及时把握市场需求和机遇。此外,今年红星美凯龙将推进“M+高端家装设计中心”核心战略,鼓励瓷砖岩板品牌在红星美凯龙渠道开设旗舰店,链接品牌与设计师、经销商群体。
为了激励岩板品牌不断追求卓越,提供更优质的岩板产品和服务,会议期间还进行了颁奖仪式。诺贝尔岩板荣获“2023年度行业贡献奖”,冠珠岩板、ULTRA奥卓斯岩板荣获“2023年度卓越进步奖”;玛缇岩板、欧文莱岩板荣获“2023年度潮流引领奖”;诺贝尔岩板、冠珠岩板、玛缇岩板、欧文莱岩板、东鹏岩板、萨米特岩板、唯美L&D岩板、ULTRA奥卓斯岩板、CASA BRAVA意美家、唐姆岩板胶等荣获“2024年度红星美凯龙岩板绿色消费推荐品牌”。

来源:红星美凯龙家居集团
索菲亚2023年净利润12.55亿元,同比增加17.93%
3月21日,索菲亚发布2023年度业绩快报,营业收入约116.66亿元,同比增加3.95%;归属于上市公司股东的净利润约12.55亿元,同比增加17.93%。关于业绩增长的原因,公告显示,2023年,尽管面临市场环境诸多困境和挑战,公司仍然积极寻求内生增长机会,始终坚定推进“多品牌、全品类、全渠道”大家居战略。报告期内,整家战略渗透助推各品牌客单价提升,新渠道持续发力,整装渠道、米兰纳品牌保持高增长趋势,使得营业收入持续增长。
来源:77度
