陶业简报:顾家家居创始人顾江生再被执行10.92亿元
精彩观点
汪加武:在超越期望的体验中铸就不可替代的客户忠诚
“极致服务”其本质是专业能力、情感投入、持续精进的三维闭环:聚焦设计师与业主双核心群体,以需求洞察、流程精进、情感增值为抓手,在超越期望的体验中铸就不可替代的客户忠诚,最终形成口碑,撬动新流量。
(汪加武—欧文莱执行总裁)
姚若晗:厂商关系应该如何重构?
厂家要放下“强势地位”,经销商要摒弃“依赖品牌赚差价”的思维,基于利益共享合作——厂家提供差异化价值,经销商提供高效服务,双方各取所需,而非强绑定。
(姚若晗—陶瓷行业知名专家/中国建筑装饰装修材料协会陶瓷分会执行会长)
行业动态
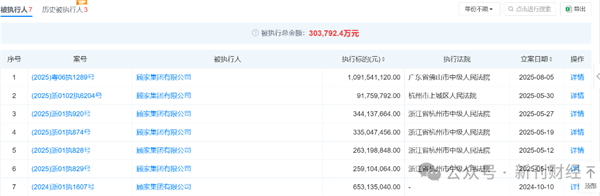
顾家家居创始人顾江生再被执行10.92亿元,家族套现超200亿
8月5日,顾家集团法定代表人、顾家家居(603816.SH)创始人顾江生新增一条被执行记录,执行标的10.92亿元,由佛山中院执行。至此,顾家集团累计被执行金额已达30.38亿元。此次纠纷与顾家家居及管理层长期法律争议相关。2024年,顾家集团及顾江生因6.5亿元纠纷被列为被执行人;今年7月,其持有的顾家家居17.56%股权被全部冻结,涉及债权19.62亿元。

图片来源:天眼查
顾江生家族近年频繁套现引发关注。2020年起,通过减持股份累计套现约80亿元;2023年11月,以103亿元转让顾家家居29.42%股权予盈峰睿和投资,叠加历年分红所得,家族累计套现超200亿元。
业绩方面,顾家家居2024年营收184.8亿元(同比降3.81%),净利14.17亿元(同比降29.38%)。截至2024年末,公司总负债74.05亿元,流动负债占比94.49%,偿债能力指标均低于安全线。当前股价较历史高点跌逾70%,高杠杆并购遗留的债务、商誉减值及股权冻结等问题,为公司未来发展埋下隐忧。
来源:新刊财经
皇朝家居创始人谢锦鹏因健康原因辞任
近日,皇朝家居(01198)发布公告,谢锦鹏先生因健康原因已提出辞任董事会联席主席及执行董事,自2025年8月4日起生效。随着谢锦鹏的离开,其原本担任的法律程序代理人职务也同步终止。

董事会进一步宣布,本公司联席公司秘书郑程杰先生已获委任为法律程序代理人,自2025年8月4日起生效。此次属正常人事更替,不影响公司现有战略。
谢锦鹏,曾任皇朝家居控股有限公司联席主席,并担任香港家俬协会副会长、香港潮州商会副会长等社会职务。他于1997年创办皇朝集团,拥有超过30年的国际贸易经验,曾任职于香港上市公司高管。
来源:中陶家居网综合整理
品牌动态
新明珠集团荣膺“广东建材科学技术奖”等多项大奖
8月8日,由广东省建筑材料行业协会主办的“第二届广东建材科技与产业发展大会暨广东省建筑材料行业协会五届三次会员代表大会”在广州空港博览中心隆重举行。会上,新明珠集团凭借在智能制造、绿色发展及科技创新领域的卓越实践,一举揽获“广东建筑材料科学技术奖科技进步奖一等奖”“智造革新企业”“绿色先锋企业”等多项重磅荣誉;集团旗下冠珠瓷砖、萨米特瓷砖、格莱斯瓷砖获得“广东好建材”荣誉;集团董事长兼总裁叶德林获评“杰出建材企业家”称号;集团研发制造中心研发经理黄春林、陈章武获评“行业工作先进个人”。

新中源陶瓷设计星全国巡回观影会-北京站圆满落幕,星耀京城!
8月8日,北京塑三文创园·金唱片餐吧内,琉璃灯影与设计思潮交相辉映。设计星(2024-2025)全国巡回观影会第三站于此启幕,设计星执委、北京设计界领袖与媒体精英共赴这场“设计星宴”,在情调与光影的碰撞中,见证中国青年设计力量的破界生长。

新中源陶瓷设计渠道主理人/设计星执委副主任樊丹回顾了新中源陶瓷与广州设计周十年间对青年设计师群体的支持,并对本年度的设计星赛事做了深刻注解:“2025年综艺化赛制的升级,是设计星对行业边界的勇敢突破——我们不仅要让专业设计被看见,更要让大众感受设计的温度与力量。”
随着灯光渐暗,全场目光聚焦银幕,设计星(2024-2025)36 强晋级赛第三集的精彩内容正式放映。镜头中,10分钟主题演讲的思想碰撞、导师一针见血的锐评,以及每一位选手眼中的赤诚与锐气,都让在场设计师深有共鸣。
宏陶瓷砖入选首批“广东好建材”,并获“建材科技一等奖”,以品质赋能“好房子”建设
8月8日,在“广东省建筑材料行业协会五届三次会员代表大会暨第二届广东建材科技与产业发展大会”上,宏陶瓷砖凭借其卓越的综合实力、领先的绿色智造水平和持续的产品创新,斩获“建材科技一等奖”大奖、荣耀入选首批“广东好建材”企业名录!这一权威认证,标志着瓷砖一线品牌宏陶瓷砖在推动行业高质量发展、助力“好房子”建设方面的突出贡献获得了政府、行业协会及市场的充分认可。

欧文莱荣获“广东好建材”奖项
“广东省建筑材料行业协会五届三次会员代表大会暨第二届广东建材科技与产业发展大会”于8月8日在广州空港博览中心举行。会上,欧文莱凭借在建材品质、绿色创新等方面的卓越表现获颁“广东好建材”奖项,进一步彰显欧文莱材质产品在质量、环保、性能等方面的行业标杆地位。

据了解,“广东好建材”名录由广东省建筑材料行业协会主导发起征集、遴选和汇编,主要从质量与性能、绿色低碳、应用适配性、市场影响力四大维度进行遴选,旨在通过遴选具有标杆意义的建材产品与部品部件,为“好房子”提供坚实材料支撑,赋能建筑行业高质量发展。
市场动态
总裁联播+政企双补,红星美凯龙818大促超级直播”携9大品牌引爆全域流量
在人间烟火气里,寻找家居的诗意!8月8日晚,红星美凯龙在抖音平台展开一场以“扒一扒人间烟火气”为主题的818大促超级直播,以“一张券一盘货”打破地域隔阂,用“烟火气场景”唤起消费共鸣。
在持续4小时的直播过程中,顾家、美的、芝华仕、海信、箭牌、老板电器、九牧、梦百合等众品牌高管轮番登场,与红星美凯龙家居集团董事长李玉鹏、总经理施姚峰等高管分别组队,开展了一场别开生面的“总裁联播”,并将城市文化、品牌故事与消费体验巧妙融合,为全国消费者呈现了一场家居消费狂欢盛宴。

据统计,本场直播整体曝光超614万,环比618大促提升25%,其中峰值在线人数突破2万人,单场粉丝量增长近5万。
今年,红星美凯龙将“818嗨购节”升级为“818好物贴贴节”,一是寓意政企双重补贴,二是突显整合营销爆品货盘优势。因此,结合“政企双补“与“一张券一盘货”的新模式在此次直播中得到全面落地。消费者可通过81.8元领取价值1000元的全国通用券,叠加政府“以旧换新”补贴与品牌专属权益,享受跨区域的统一优惠。值得关注的是,所有直播间的精选产品均实行全国同价,确保不同城市的消费者都能获得无差别的购物体验,而且在直播活动当晚,消费者还能享受到额外补贴。目前,红星美凯龙已在全国开放线上成交线下提货模式,本场直播中9大直播品牌爆款商品直接成交1478单。
来源:红星美凯龙家居集团
